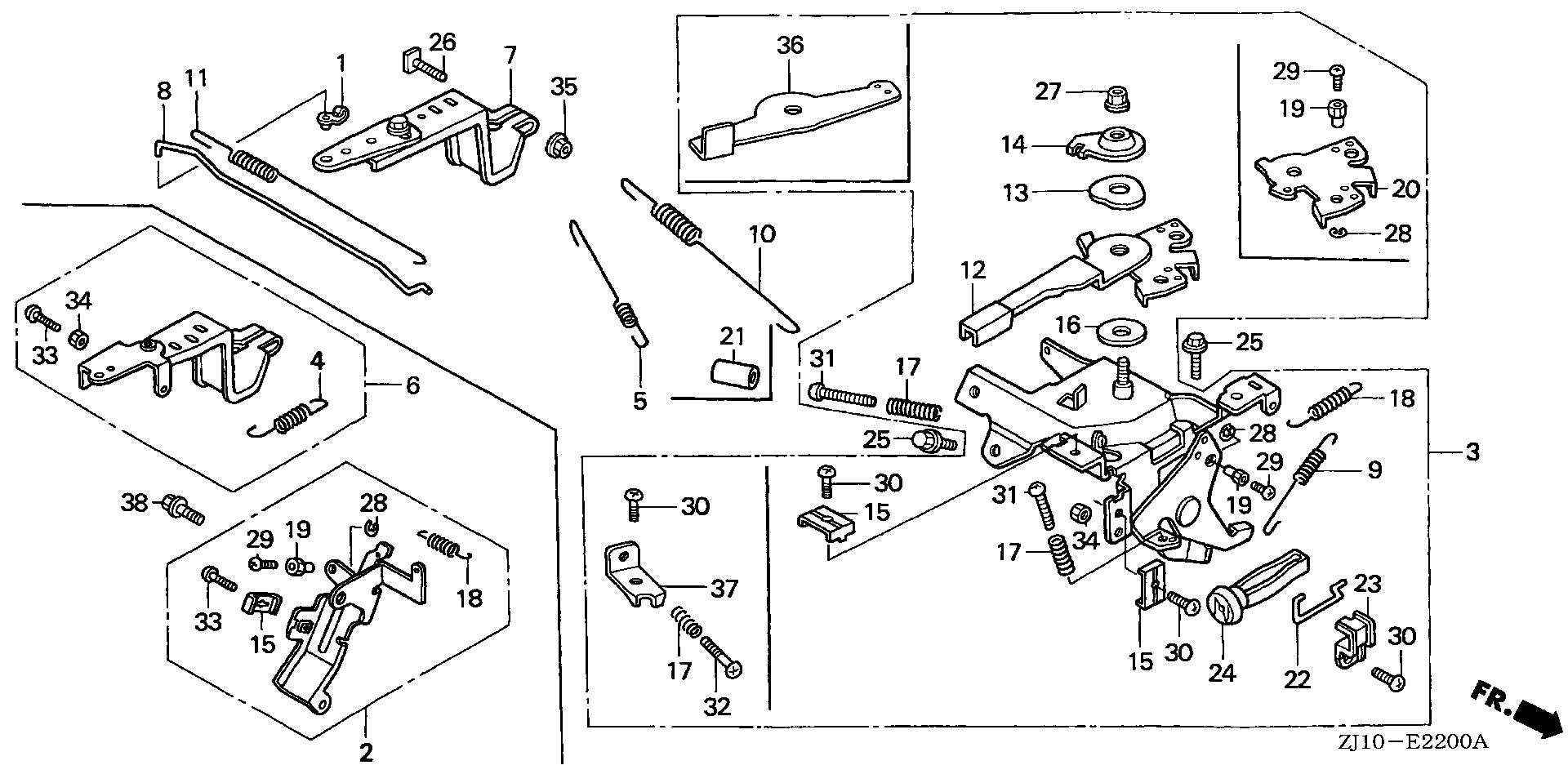
Ref No
Part Number
Description
Serial Range
Qty
Price
Ref No 1
Part Number 16263-ZE3-790
Description JOINT, ROD
Serial Range 1000001 - 9999999
Qty
Price $7.74
Add To Cart
Ref No 2
Part Number 16265-ZJ1-U80
Description STAY ASSY., AUTO THROTTLE (NOT AVAILABLE)
Serial Range 1000001 - 9999999
Ref No 3
Part Number 16500-ZJ1-U80
Description CONTROL ASSY. (NOT AVAILABLE)
Serial Range 1000001 - 9999999
Ref No 4
Part Number 16534-ZJ1-U80
Description SPRING, RETURN
Serial Range 1000001 - 9999999
Qty
Price $3.81
Add To Cart
Ref No 6
Part Number 16550-ZJ1-U80
Description ARM, GOVERNOR (NOT AVAILABLE)
Serial Range 1012400 - 9999999
Ref No 8
Part Number 16555-ZJ1-000
Description ROD, GOVERNOR (NOT AVAILABLE)
Serial Range 1000001 - 9999999
Ref No 9
Part Number 16561-ZG1-000
Description SPRING, GOVERNOR
Serial Range 1000001 - 9999999
Ref No 10
Part Number 16561-ZJ1-000
Description SPRING, GOVERNOR (NOT AVAILABLE)
Serial Range 1000001 - 9999999
Ref No 11
Part Number 16562-ZJ1-000
Description SPRING, THROTTLE RETURN (NOT AVAILABLE)
Serial Range 1012400 - 9999999
Ref No 13
Part Number 16574-ZE1-000
Description SPRING, LEVER
Serial Range 1000001 - 9999999
Qty
Price $6.18
Add To Cart
Ref No 14
Part Number 16575-ZH8-000
Description WASHER, CONTROL LEVER
Serial Range 1000001 - 9999999
Qty
Price $8.43
Add To Cart
Ref No 15
Part Number 16576-891-000
Description HOLDER, CABLE
Serial Range 1000001 - 9999999
Qty
Price $7.41
Add To Cart
Ref No 16
Part Number 16578-ZE1-000
Description SPACER, CONTROL LEVER
Serial Range 1000001 - 9999999
Qty
Price $7.83
Add To Cart
Ref No 17
Part Number 16584-883-300
Description SPRING, CONTROL ADJUSTING
Serial Range 1000001 - 9999999
Qty
Price $7.29
Add To Cart
Ref No 18
Part Number 16592-ZJ1-000
Description SPRING, CABLE RETURN
Serial Range 1000001 - 9999999
Qty
Price $3.45
Add To Cart
Ref No 19
Part Number 16594-883-010
Description HOLDER, WIRE
Serial Range 1000001 - 9999999
Qty
Price $12.90
Add To Cart
Ref No 22
Part Number 16628-ZJ1-000
Description ROD, CHOKE KNOB
Serial Range 1000001 - 9999999
Qty
Price $4.59
Add To Cart
Ref No 23
Part Number 16649-ZJ1-000
Description HOLDER, CHOKE KNOB
Serial Range 1000001 - 9999999
Qty
Price $8.91
Add To Cart
Ref No 24
Part Number 17951-ZVA-000
Description KNOB, CHOKE
Serial Range 1000001 - 9999999
Qty
Price $13.14
Add To Cart
Ref No 25
Part Number 90013-883-000
Description BOLT, FLANGE (6X12) (CT200)
Serial Range 1000001 - 9999999
Ref No 26
Part Number 90015-ZE3-790
Description BOLT, GOVERNOR ARM
Serial Range 1000001 - 9999999
Qty
Price $4.23
Add To Cart
Ref No 27
Part Number 90114-SA0-000
Description NUT, SELF-LOCK (6MM)
Serial Range 1000001 - 9999999
Qty
Price $5.85
Add To Cart
Ref No 28
Part Number 90605-230-000
Description CIRCLIP (5MM)
Serial Range 1000001 - 9999999
Ref No 29
Part Number 93500-04006-0H
Description SCREW, PAN (4X6)
Serial Range 1000001 - 9999999
Qty
Price $1.65
Add To Cart
Ref No 30
Part Number 93500-05012-0H
Description SCREW, PAN (5X12)
Serial Range 1000001 - 9999999
Qty
Price $1.65
Add To Cart
Ref No 31
Part Number 93500-05025-0H
Description SCREW, PAN (5X25)
Serial Range 1000001 - 9999999
Qty
Price $1.38
Add To Cart
Ref No 32
Part Number 93500-05028-0A
Description SCREW, PAN (5X28)
Serial Range 1000001 - 9999999
Qty
Price $1.65
Add To Cart
Ref No 33
Part Number 93500-05016-0A
Description SCREW, PAN (5X16)
Serial Range 1000001 - 9999999
Qty
Price $1.65
Add To Cart
Ref No 33
Part Number 93500-05016-0A
Description SCREW, PAN (5X16)
Serial Range 1000001 - 9999999
Qty
Price $1.65
Add To Cart
Ref No 34
Part Number 94001-05000-0S
Description NUT, HEX. (5MM)
Serial Range 1000001 - 9999999
Qty
Price $5.01
Add To Cart
Ref No 35
Part Number 94050-06000
Description NUT, FLANGE (6MM)
Serial Range 1000001 - 9999999
Qty
Price $1.23
Add To Cart
Ref No 36
Part Number 16571-ZJ1-U80
Description LEVER, CONTROL
Serial Range 1000001 - 9999999
Qty
Price $12.27
Add To Cart
Ref No 37
Part Number 16577-ZJ1-U80
Description STOPPER, CONTROL LEVER (NOT AVAILABLE)
Serial Range 1000001 - 9999999
Ref No 38
Part Number 95701-08016-00
Description BOLT, FLANGE (8X16)
Serial Range 1000001 - 9999999
Qty
Price $3.30
Add To Cart