Generators EB EB12 EB12D AG ECD-1000001-1009999 TOOLS - Dunn's Equipment

Ref No
Part Number
Description
Serial Range
Qty
Price

Ref No
1
Part Number
38306-KK4-000
Description
SUSPENSION, TURN SIGNAL RELAY (MITSUBA)
Serial Range
1000001 - 9999999
Qty
Price
$6.06

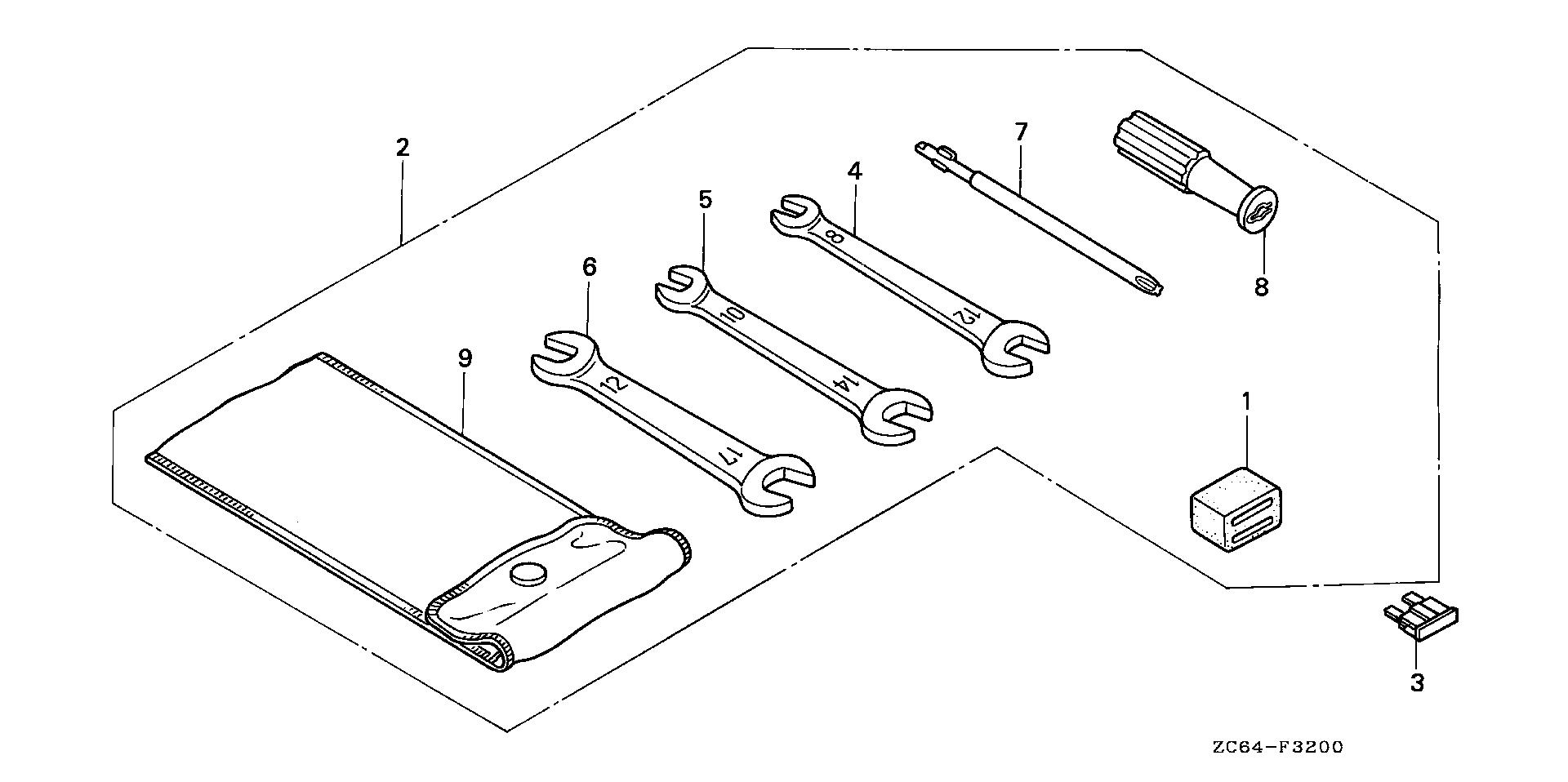
Ref No
2
Part Number
89000-ZC6-000
Description
TOOL KIT (NOT AVAILABLE)
Serial Range
1000001 - 1002682

Ref No
3
Part Number
98200-30500
Description
FUSE, BLADE (5A)
Serial Range
1002683 - 9999999
Qty
Price
$2.40

Ref No
4
Part Number
99001-08120
Description
SPANNER (8X12)
Serial Range
1000001 - 1002682
Qty
Price
$5.43

Ref No
5
Part Number
99001-10140
Description
SPANNER (10X14)
Serial Range
1000001 - 1002682
Qty
Price
$6.09

Ref No
6
Part Number
99001-12170
Description
SPANNER (12X17)
Serial Range
1000001 - 1002682
Qty
Price
$14.73

Ref No
7
Part Number
99003-20000
Description
DRIVER 2, PLUS SCREW (NO.3)
Serial Range
1000001 - 1002682
Qty
Price
$7.20

Ref No
8
Part Number
99003-50000
Description
GRIP, SCREW DRIVER
Serial Range
1000001 - 1002682
Qty
Price
$7.20

Ref No
9
Part Number
89101-ME5-670
Description
BAG, TOOL
Serial Range
1000001 - 1002682