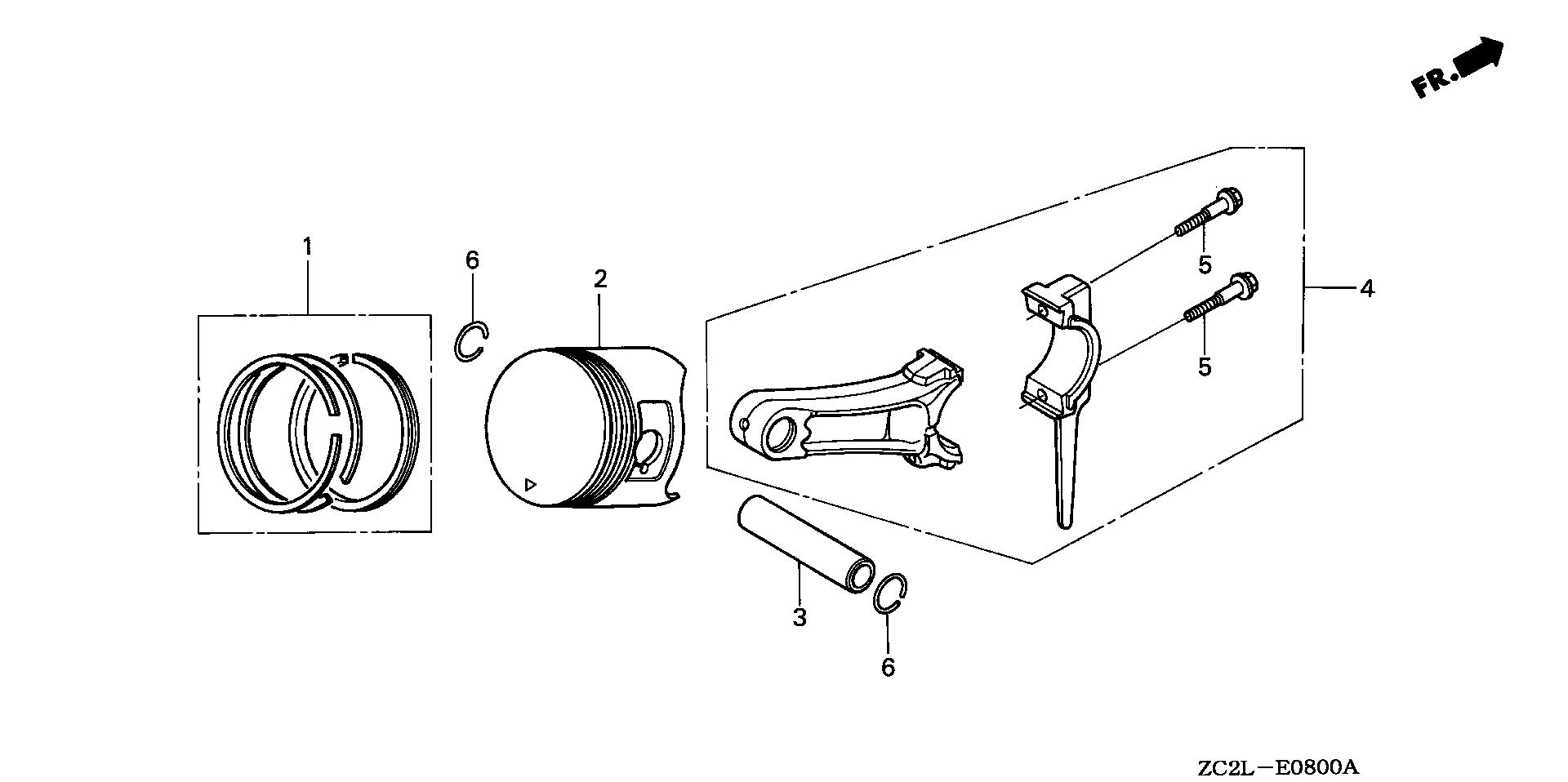
Generators EM EM5000 EM5000SXK1 A/C EA7-1200001-1299999 PISTON@RINGS - Dunn's Equipment

Ref No
Part Number
Description
Serial Range
Qty
Price

Ref No
1
Part Number
13010-ZE3-003
Description
RING SET, PISTON (STD) (NIPPON)
Serial Range
1000001 - 9999999
Qty
Price
$55.20

Ref No
1
Part Number
13011-ZE3-003
Description
RING SET, PISTON (0.25) (NIPPON)
Serial Range
4099048 - 9999999
Qty
Price
$73.68

Ref No
1
Part Number
13012-ZE3-003
Description
RING SET, PISTON (0.50) (NIPPON)
Serial Range
4099048 - 9999999
Qty
Price
$65.82

Ref No
1
Part Number
13013-ZE3-003
Description
RING SET, PISTON (0.75) (NIPPON) (NOT AVAILABLE)
Serial Range
4099048 - 9999999

Ref No
1
Part Number
13013-ZE3-005
Description
RING SET, PISTON (0.75) (TEIKOKU)
Serial Range
4099048 - 9999999

Ref No
2
Part Number
13101-ZE3-W00
Description
PISTON (STD)
Serial Range
1000001 - 9999999
Qty
Price
$61.62

Ref No
2
Part Number
13102-ZE3-W00
Description
PISTON (0.25) (NOT AVAILABLE)
Serial Range
4099048 - 9999999

Ref No
2
Part Number
13103-ZE3-W00
Description
PISTON (0.50) (NOT AVAILABLE)
Serial Range
4099048 - 9999999

Ref No
2
Part Number
13104-ZE3-W00
Description
PISTON (0.75) (NOT AVAILABLE)
Serial Range
4099048 - 9999999

Ref No
3
Part Number
13111-ZF6-000
Description
PIN, PISTON
Serial Range
1000001 - 9999999
Qty
Price
$20.97

Ref No
4
Part Number
13200-Z1C-900
Description
ROD ASSY., CONNECTING (STD)
Serial Range
1000001 - 9999999
Qty
Price
$29.94

Ref No
4
Part Number
13200-ZE3-315
Description
ROD ASSY., CONNECTING (0.25 LOWER SIZE)
Serial Range
1000001 - 9999999
Qty
Price
$140.40

Ref No
5
Part Number
90001-ZE8-000
Description
BOLT, CONNECTING ROD
Serial Range
1000001 - 9999999
Qty
Price
$6.51

Ref No
6
Part Number
90601-ZE3-000
Description
CLIP, PISTON PIN (20MM)
Serial Range
1000001 - 9999999
Qty
Price
$3.36