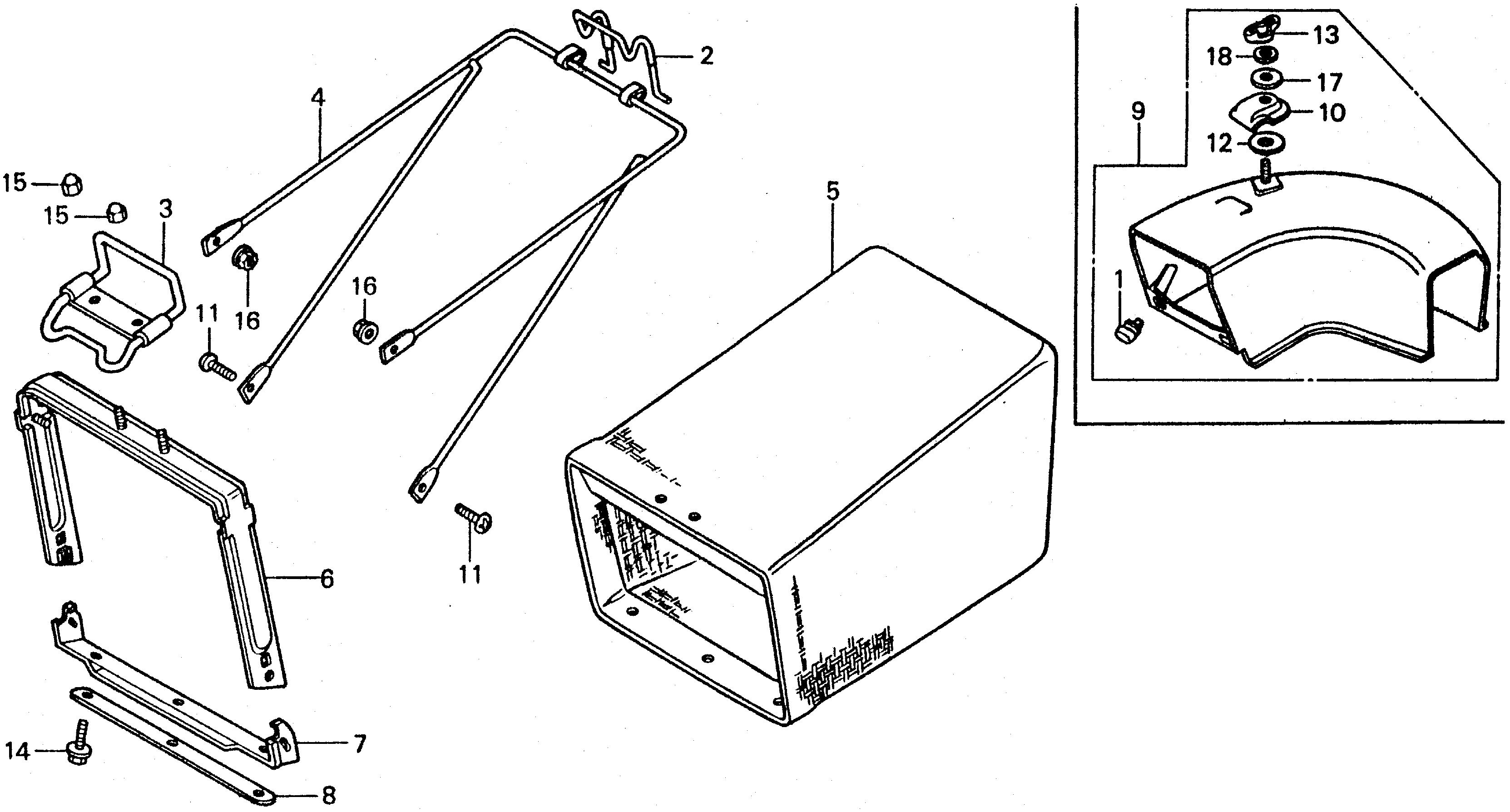
Lawn Mowers HRA HRA21 HRA21 SDA HRA21-1000001-9999999 GRASS BAG@DISCHARGE ADAPTER - Dunn's Equipment

Ref No
Part Number
Description
Serial Range
Qty
Price

Ref No
1
Part Number
76122-952-000
Description
STOPPER, DISCHARGE GUARD
Serial Range
1000001 - 9999999
Qty
Price
$6.93

Ref No
2
Part Number
81154-963-000
Description
GRIP, GRASS BAG (NOT AVAILABLE)
Serial Range
1000001 - 9999999

Ref No
3
Part Number
81155-963-000
Description
HANDLE, GRASS BAG
Serial Range
1000001 - 9999999

Ref No
4
Part Number
81156-963-000
Description
BAR, GRASS BAG
Serial Range
1000001 - 9999999

Ref No
5
Part Number
81157-963-000
Description
FABRIC, GRASS BAG
Serial Range
1000001 - 9999999
Qty
Price
$204.80

Ref No
6
Part Number
81158-963-000
Description
FRAME A, BAG
Serial Range
1000001 - 9999999

Ref No
7
Part Number
81159-963-000
Description
FRAME B, BAG
Serial Range
1000001 - 9999999

Ref No
8
Part Number
81162-963-000
Description
PLATE, BAG
Serial Range
1000001 - 9999999

Ref No
9
Part Number
81210-963-620
Description
ADAPTER, DISCHARGE (N/A: SEE COMPONENTS)
Serial Range
1000001 - 9999999

Ref No
10
Part Number
81211-952-300
Description
PLATE, CLAMP (NA USE ALT:06814-VE2-000)
Serial Range
1000001 - 9999999

Ref No
11
Part Number
90102-679-003
Description
SCREW, TORUS (6X16)
Serial Range
1000001 - 9999999
Qty
Price
$8.70

Ref No
12
Part Number
90136-428-870
Description
WASHER, TANK SETTING
Serial Range
1000001 - 9999999
Qty
Price
$2.85

Ref No
13
Part Number
90325-044-000
Description
NUT, TOOL BOX SETTING
Serial Range
1000001 - 9999999
Qty
Price
$7.71

Ref No
14
Part Number
93404-06012-00
Description
BOLT-WASHER (6X12)
Serial Range
1000001 - 9999999
Qty
Price
$2.97

Ref No
15
Part Number
94021-06020
Description
NUT, CAP (6MM)
Serial Range
1000001 - 9999999
Qty
Price
$3.33

Ref No
16
Part Number
94050-06000
Description
NUT, FLANGE (6MM)
Serial Range
1000001 - 9999999
Qty
Price
$1.23

Ref No
17
Part Number
94101-06800
Description
WASHER, PLAIN (6MM)
Serial Range
1000001 - 9999999
Qty
Price
$1.20

Ref No
18
Part Number
94111-06000
Description
WASHER, SPRING (6MM)
Serial Range
1000001 - 9999999
Qty
Price
$1.71